GU Hauptschlosskasten K-20044-EF-0-1 92 mm Entfernung, 40 mm Dorn, für für selbstverriegelnde Mehrfachverriegelungen Secury Automatic
Mengenstaffelpreise:
- Stück
- 123,70 €
- 118,50 €
GU Hauptschlosskasten K-20044-EF-0-1
für selbstverriegelnde Mehrfachverriegelungen
92 mm Entfernung
40 mm Dornmass (beim abmessen des Dornmasses muss das Stulpblech (3 mm) mitgemessen werden!)
8 mm Vierkant
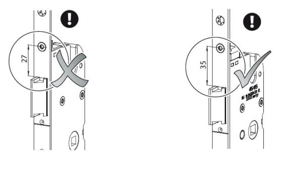
Bitte beachten Sie dass der Abstand von Oberkante Falle bis zur Mitte vom oberen Befestigungsloch am Schlosskasten
35 mm betragen muss. Falls der Abstand 27 mm beträgt kann der Schlosskasten nicht getauscht werden und es muss
eine neue Verriegelung eingebaut werden.
Unter "passende Medien zum Artikel" können Sie ein Aufmassblatt herunterladen. Füllen Sie dies bitte so weit als möglich
aus und senden Sie uns dies bitte an unsere Mailadresse "info@ohmberger.de" zurück.
Gretsch Unitas GmbH Baubeschläge Johnn-Maus-Straße 3 D-71254 Ditzingen Tel. +49 7156 301-0 Mail: info@g-u.de

Sie haben Ihr Passwort vergessen?




.jpg)